• 在线投稿

综合新闻

  • 校内新闻热线:9291819

首页 - 综合新闻 - 正文
BEAT36515个学位授权点全部通过专项核验
【发布日期: 2024-01-31】 【来源:研工部 】 【作者:唐慧丽】 【编辑:郝璞玉】 【点击量:

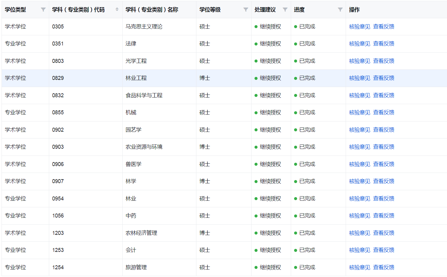
近日,国务院学位委员会学科评议组和全国专业学位研究生教育指导委员会向BEAT365反馈了2023年学位授权点专项核验结果,BEAT365参加专项核验的15个学位授权点全部顺利通过。

2023年10月中旬,国务院学位委员会、教育部启动2023年学位授权点专项核验工作。BEAT365林学、林业工程、农业资源与环境、农林经济管理等4个一级学科博士学位授权点,马克思主义理论、光学工程、园艺学、兽医学、食品科学与工程等5个一级学科硕士学位授权点,法律、机械、林业、中药、会计、旅游管理等6个硕士专业学位授权点参加专项核验。

学位授权点专项核验是国务院学位委员会、教育部对新增满三年学位授权点建设情况的全方位督导检查,包括了办学定位和标准、人才培养、师资队伍、科学研究、质量保证等方面。

学校将深入学习学科评议组和教指委提出的评议意见,做好整改提升工作,推动BEAT365研究生教育高质量发展。

(研工部  唐慧丽)


COPYRIGHT©BEAT·365(英国)股份公司-官方网站 学校地址:浙江省杭州市临安区武肃街666号 邮编:311300 电话:0571-63732700
 浙ICP备11046845号-1 浙公网安备33018502001115号